BLOOD BANK REFRIGERATOR 血库冰箱
安全可靠储存血液的理想选择。 这些型号经过 MDD 认证,从上到下具有稳定可靠的温度均匀性。
安全血液储存
与标准药用冰箱相比,BBR 系列具有许多特殊功能。
为了满足MDD认证的严格要求,冰箱配备了浸泡 在甘油中的探头、额外的安全控制器、图表记录 器和辅助探头,所有这些都是为了保持珍贵血液 的完整性和可追溯性。
BBR 系列标配带通道和分隔器的伸缩式抽屉系统,因此您可以快速对存储的样品进行分类和提取——在真正重要的时候节约宝贵的时间。
医疗设备
Arctiko’s 的血库冰箱系列已通过MDD
93/42/EEC认证,并已获得 IIA 级认证。
这确保了它被批准用于储存将要引入人体的组织或物质 - 重要的是要注意 I 类或 II 类的 区别,因为 I 类不符合血液储存的要求。
为了保障安全性,该血库配备了两个控制器和一个图形记录仪用以持续监测温度。
优化的内部空间
我们的血库对宝贵的血液提供了良好的保护和监测,确保您的血袋始终保持高质量。
中空双层玻璃门可防止冷凝并确保出色的温度均匀性。
结合 Arctiko BBR 系列的智能设计、玻璃门和 轨道伸缩式抽屉,您可以确保拥有尽可能大的血袋储存容量,并方便分类管理及取用储 存样本,同时仍能保持血液安全。

带有通道和分隔器的神缩式抽屉系统,您可以快捷地对存储的样品进行分类和提取。

Arctiko’s 的血库冰箱系列已通过 MDD 93/42/EEC认证,并已获得 IIA 级认证

BBR 系列配有浸入甘油的探头、 额外的安全控制器、图表记录器和第二辅助探头。
ARCTIKO BBR 100 型冰箱支持以下可选功能:
■ GSM报警模块
■ Modbus适配器
■ 电压稳定器
■ 电压转换器

The actual performance of products may vary on various factors. All rights to this temperature mapping belong to Arctiko A/S. The drawing may not be copied nor presented to any other person without prior written consent of Arctiko A/S.
| 型号 | BBR 100 | |
| 主要技术规格 | 订货号 | DAI 110 |
温度范围 ( ̊C) | +4 | |
最高环境温度 ( ̊C) | 32 | |
容积 (L) | 94 | |
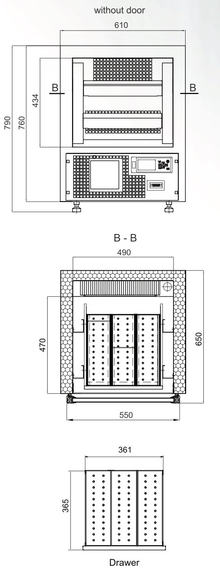
| 外型尺寸 WxDxH (mm) | 610x659x790 | |
| 内部尺寸 WxDxH (mm) | 490x440x434 | |
| 重量 (kg) | 71 | |
保温层 (mm) | 60 | |
| 制冷技术 | forced air | |
| 控制器型号 / 电极类型 | G214 / PT1000 | |
| 电源 | 电源 (V) | 230 |
| 频率 (Hz) | 50/60 | |
| 功耗 (kWh/24h) | 4.4 | |
AMP (A) | 1.9 | |
| 电压 (Watt) | 307 | |
| 马力 (HP) | 1/10 | |
| 报警功能 | 文本报警显示-非代码 | yes |
| 声光报警 | yes / yes | |
| 电源故障报警 | yes | |
| 可调节高温/ 低温报警 | yes / yes | |
| 开门报警 | yes | |
电极故障报警 | yes | |
低电池报警 | yes | |
| 压缩机故障报警 | no | |
| 备用电池报警 (大约多少时长:小时) | 72 | |
| 数据记录&外部链接 | 用于远程报警的无电压触点 (e.g. GSM 报警模块) | yes |
电子数据记录 | yes | |
| RS 485 接口 | yes | |
USB 接口用于软件升级 & 数据下载 | yes | |
| 温度图形记录仪 | yes | |
| 显示器特点 | 显示器类型 | 4,3 with touch buttons |
| 可选参考电极数量 | 2 | |
| 开机/关机密码保护 | yes | |
| 在显示器上显示温度图形 | yes | |
| 其他特点 | 自动除霜 | yes |
| 抗冻功能 | no | |
| 真空释放孔 | no | |
| 外部电极等进入孔 (int. diameter mm) | 可选项 | |
照明灯 | yes | |
| 带钥匙的锁 | yes | |
| 轮子 (总数量 pcs) / 带刹车轮子 (pcs) | 2轮子/0 | |
| 固定脚 (pcs) / 可调水平的脚 (pcs) | 0/2 | |
| 子盖/内门 (pcs) | no | |
| 可逆门 (s) | no | |
固定架子数量 (pcs) / 可调节架子数量 (pcs) | no | |
最多架子数量 (pcs) / 推荐的最多架子数量 (pcs) | no | |
每层架子最大负载 (kg) | no | |
可调节的抽屉 (pcs) | 2 | |
每个可调节抽屉的最大负载 (kg) | 30 | |
| 最多可放血袋的数量 - by standard no. of adj. drawers (pcs) | 72 | |
| 制冷&箱体 | 压缩机数量 | 1 |
| 制冷剂 | R290* | |
| 内腔体材质 | 不锈钢 | |
| 外部箱体材质 | painted steel | |
| 颜色 (外部箱体) | 白色 | |
泡沫类型 | polyurethane | |
| VIP 真空保温板 | no | |
| 运输 | 运输重量(KG) | 93 |
| 运输尺寸 WxDxH (cm) | 81x69x103 | |
| 运输体积 (m³) | 0,58 |

参与讨论